Насос ONIS SWB80.18.15.T2.2.2
Артикул: 102003
Области применения
Серия насосов SWB широко применяется в промышленности, сельском хозяйстве, горнодобывающей промышленности, строительстве, коммунальном хозяйстве, охране окружающей среды и т. д. Они подходят для откачки воды, содержащей частицы, такие как короткие волокна, обрывки бумаги и другие мягкие и твердые вещества, такие как грязная вода, бытовые сточные воды, канализация, навоз и т. д. Они являются идеальным оборудованием для сельскохозяйственного орошения и дренажа, очистки иловых отложений в бассейнах и строительных площадках, но не рекомендуются для использования во взрывоопасных средах.
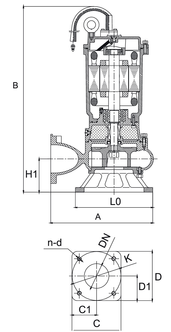
Погружные насосы для сточных вод серии – SWB (рабочее колесо с режущей кромкой)
Погружной электрический насос состоит из рабочего колеса с режущей кромкой, торцевого уплотнения и электродвигателя. Электродвигатель расположен в верхней части, может быть однофазным или трехфазным, в нижней части находится, рабочее колесо. Для предотвращения попадания перекачиваемой жидкости в электродвигатель применяется торцевое уплотнение, установленное на валу ротора электродвигателя. Насосы применяются в таких отраслях, как промышленная и городская канализация, сельское хозяйство, очистка сточных вод и др.
Особенности
- Прочная конструкция из чугуна.
- Вал изготовлен из нержавеющей стали, а уплотнения механические с двухсторонним карбидным покрытием 2Сг13.
- Имеется режущее лопастное колесо для измельчения объектов.
Расшифровка обозначений
























